După ce s-a specializat în telefoane pliabile, Samsung țintește o nouă categorie de accesorii smart. Este vorba despre ceasurile inteligente cu afișaj rulabil, pentru care compania coreeană a depus deja un brevet la Oficiul Mondial de Proprietate Intelectuală.
LetsGoDigital raportează că cererea de brevet a fost plasată încă din 2 iunie, dar că informația a fost disponibilă pentru publicul larg pe 9 decembrie.

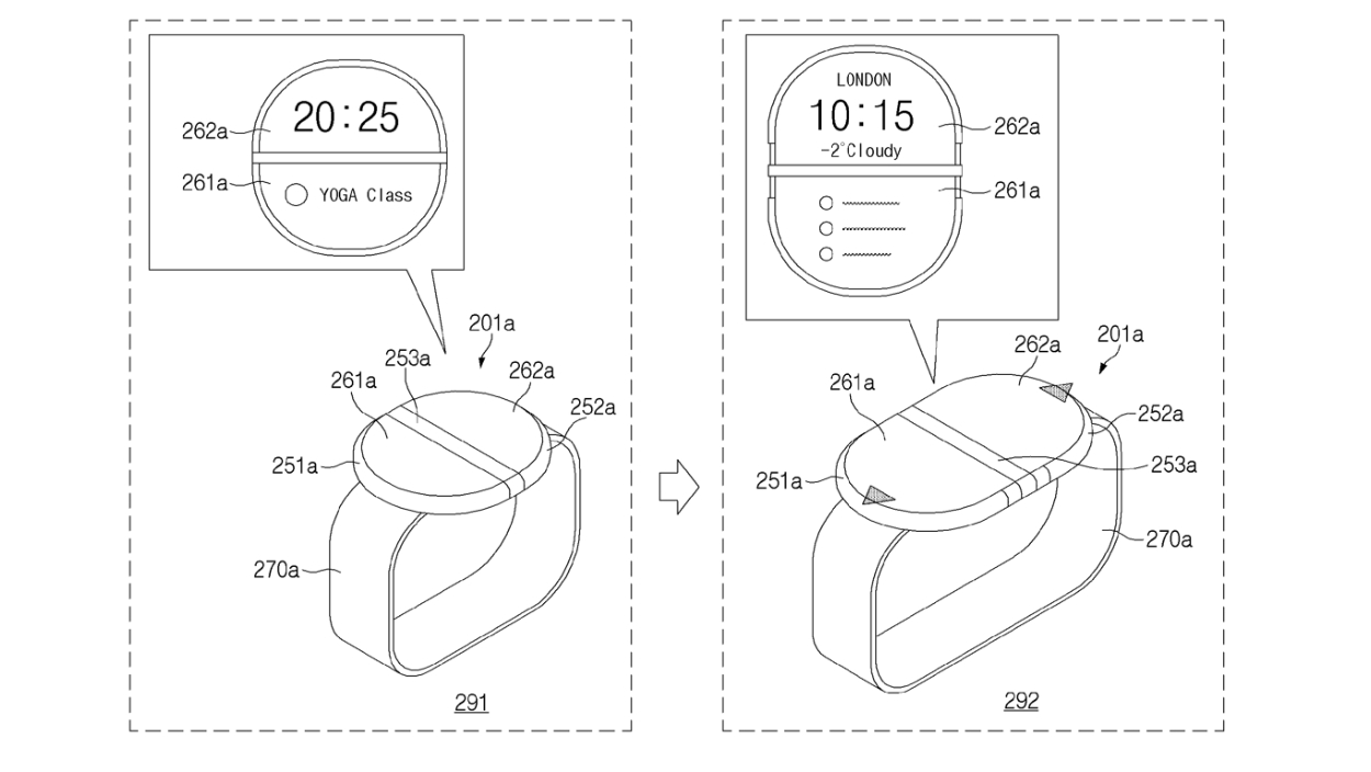
„Este dezvăluit un dispozitiv electronic care cuprinde un afișaj, o unitate de mișcare a afișajului care controlează ecranul, pentru a modifica dimensiunea zonei de afișare, vizibilă în afara dispozitivului electronic, și un procesor”, se arată în documentația depusă de Samsung. „Afișajul poate fi extins prin derularea din partea centrală către exterior și poate fi redus prin introducerea în porțiunea centrală.”
Ilustrațiile care însoțesc brevetul arată un ceas inteligent aparent tipic cu un afișaj circular, așa cum sunt toate smartwatch-urile din gama Galaxy Watch a Samsung. Când cadranul ceasului este apăsat, totuși, afișajul poate fi extins într-o formă ovală despre care se spune că oferă o creștere cu 40% a dimensiunii ecranului.
În plus, se pare că ceasul descris în brevet are și o cameră încorporată în centrul afișajului.

Atât afișajul rulabil, cât și camera încorporată ar aduce un mare plus viitoarelor ceasuri inteligente și ar schimba complet viitorul acestor gadgeturi. Asta, desigur, dacă proiectul va prinde viață și vom vedea smartwatch-urile rulabile și în realitate, nu doar sub formă de proiect.
Ce zici, ți-ai dori un astfel de dispozitiv?



